
C. Scott Brown / Android Authority
TL;DR
- Google has filed a patent for know-how that detects gestures on the body and again of a tool.
- The patent notes that this might apply to a smartphone, pill, and extra.
- This might enable customers to regulate quantity, scrub by means of a video, and extra with out touching the show.
Google Pixel telephones have lengthy supplied Fast Faucet performance, permitting you to double-tap the rear cowl to provoke an motion. Now, a brand new patent reveals that Google is considering upping the ante.
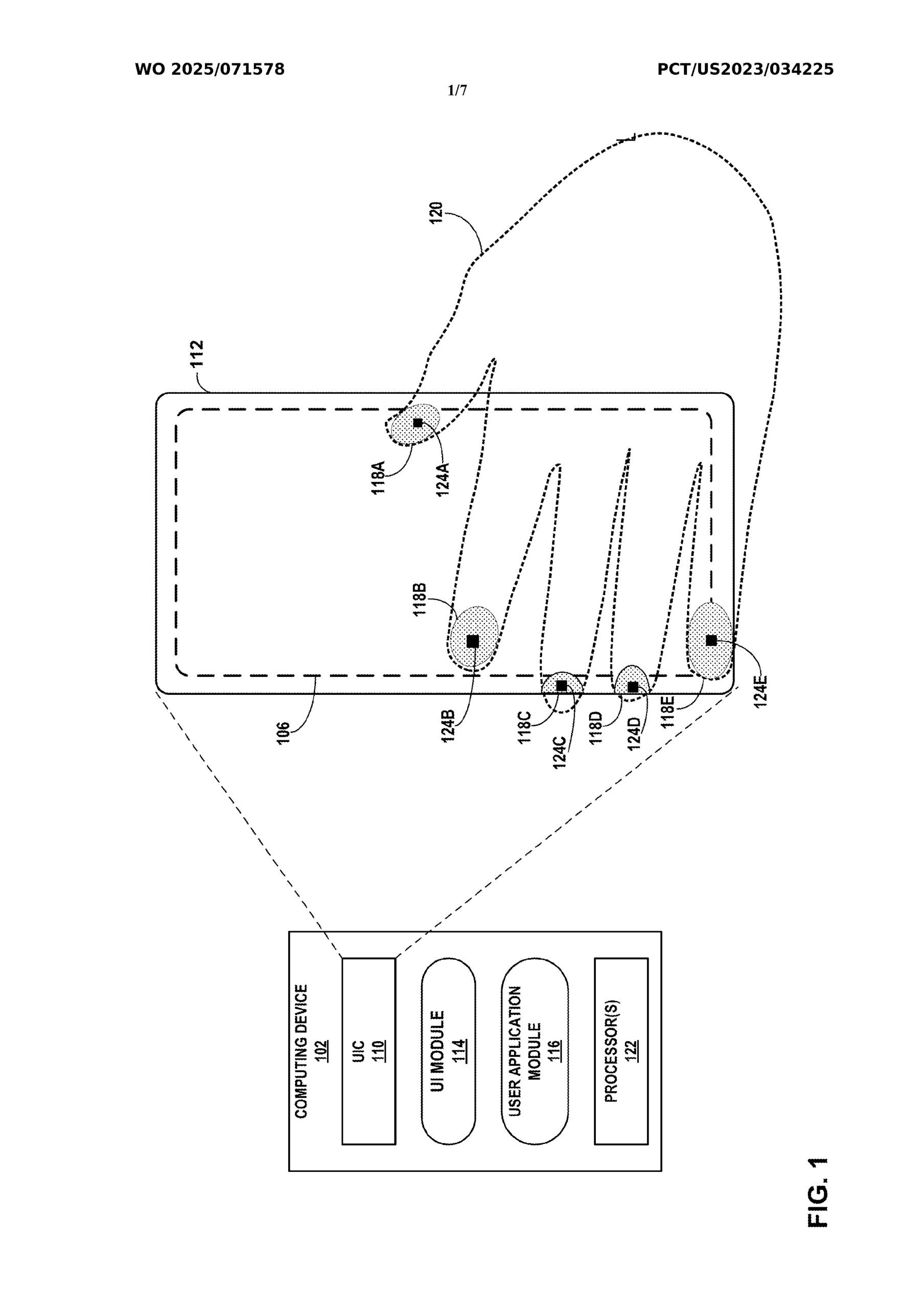
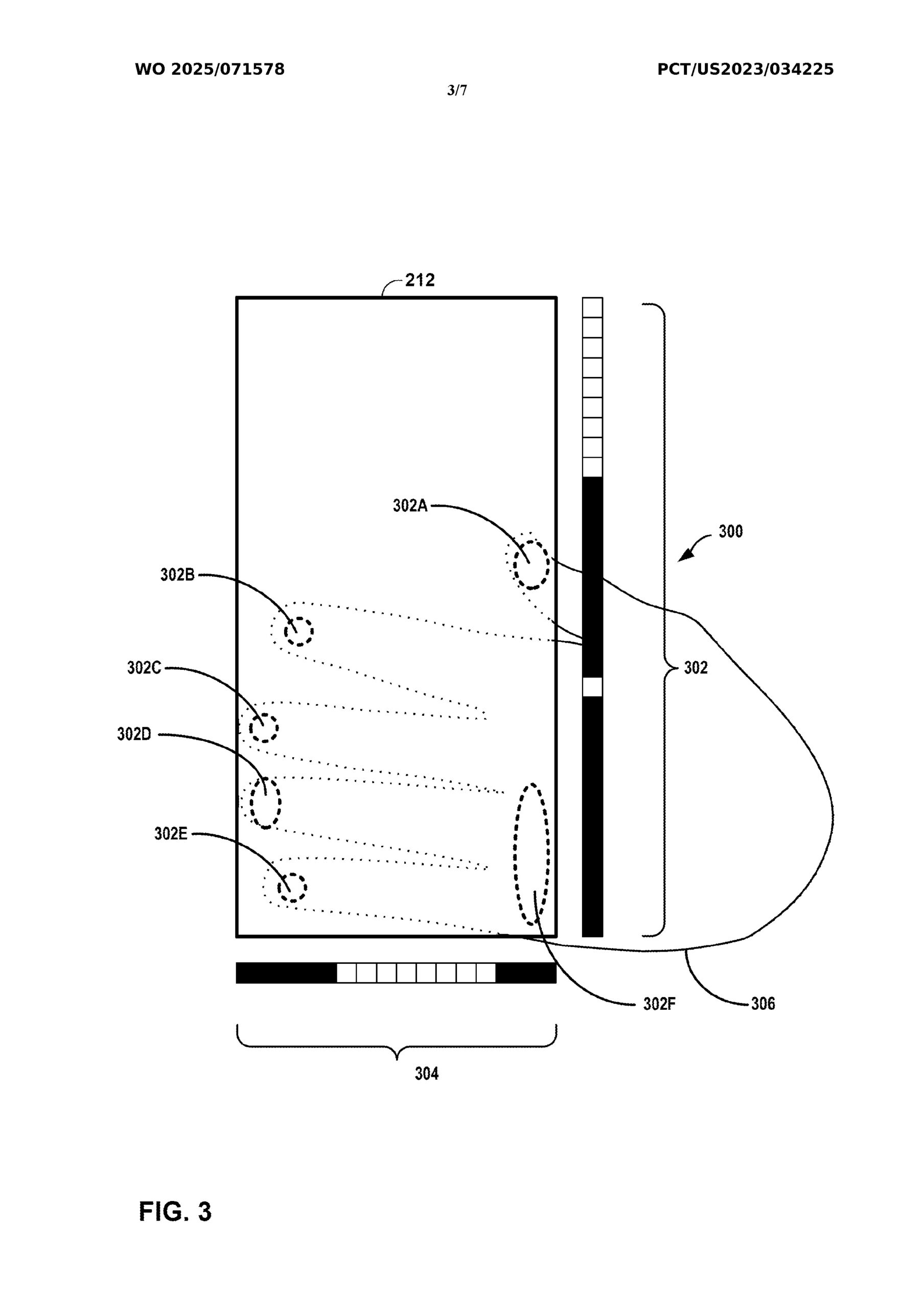
Google filed a patent with the World Mental Property Workplace (h/t: Patently Apple) on April 3, titled “Leveraging inactive touchpoints for gesture recognition and person interface configuration.” The patent describes the detection of person gestures through a “presence-sensitive housing” on a tool. The submitting notes that this might allow gestures at “any exterior location” on stated system, together with the again.
The patent description factors to a number of attainable makes use of for this performance:
Primarily based on the recognized gesture enter, the computing system performs a number of actions akin to adjusting a quantity setting, scrubbing video playback, and modifying a graphical person interface of the computing system (e.g., portrait vs panorama mode, placement of components throughout the graphical person interface, and so forth.), amongst different actions.
The submitting additionally notes that Google would use a machine-learning mannequin to filter out false inputs, akin to somebody merely holding the system or adjusting their grip.
Google particularly notes that the system might be a smartphone. Nonetheless, the corporate provides that this characteristic might additionally apply to a pill, laptop computer or desktop pc, sensible speaker, book reader, smartwatch, and extra.
Would you like gestures in your cellphone’s body and rear cowl?
0 votes
A touch-sensitive body could be fairly attention-grabbing as older Google Pixel telephones (and HTC gadgets) supplied squeeze gestures to activate Google Assistant and provoke different actions. So this new patent might be a superpowered model of that Energetic Edge characteristic.
A touch-sensitive rear cowl would even be intriguing. OPPO’s N1 smartphone within the early 2010s had a contact panel built-in into the rear cowl, permitting you to scroll, faucet, and click on through the again. This characteristic, which additionally appeared on the PlayStation Vita handheld, shortly fell to the wayside, and we haven’t actually seen it on smartphones since then.

